鹏城车市
鹏城汽车报价

为自动驾驶汽车做准备 通用申请倾斜座椅安全气囊专利

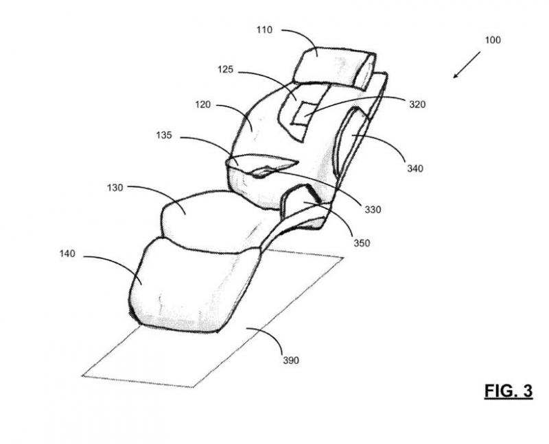
据外媒报道,通用汽车(GM)已为其躺卧座椅安全气囊向美国专利商标局(United States Patent and Trademark Office)申请了新专利。该专利是一种名为“用于倾斜乘员胸部和大腿的安全气囊系统(Thorax And Thigh Airbag System For Reclined Passengers)”,旨在在发生碰撞时确保斜倚乘客的安全,并可能应用于即将推出的通用汽车自动驾驶汽车。

该专利描述了一种具有倾斜车辆座椅功能的车辆安全座椅系统,以及一系列围绕座椅上乘员的安全气囊。其中包括一个与后部座椅臂集成的安全气囊,具体位于车辆座椅中斜倚乘员的胸部上方。该安全气囊会在发生碰撞时膨胀以保护乘员。

欢迎转载,标注来源:鹏城车网 » 为自动驾驶汽车做准备 通用申请倾斜座椅安全气囊专利

鹏城车网

鹏城汽车大事件鹏城汽车活动