[本站 资讯] 多年以来,汽车行业见证了无数技术进步。对于福特来说,创新并不是新鲜事。最近,福特公司申请了一项向一侧打开的SUV鸥翼门专利。

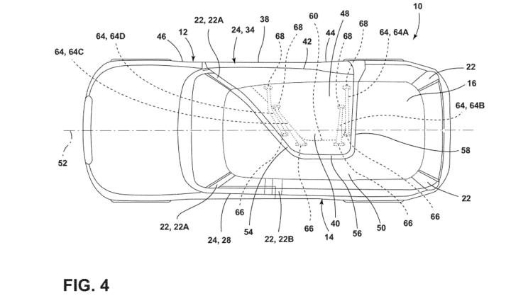
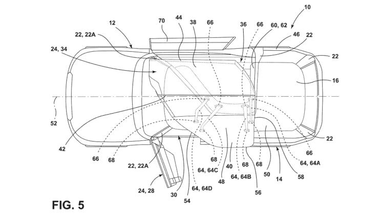
标有“车辆侧门”的专利概念于2021年10月提交,直到2023年4月20日才公布。它由福特全球技术有限责任公司提交,其地址注册为密歇根州迪尔伯恩。虽然美国专利商标局(USPTO)公布的文件没有具体说明鸥翼门是用于SUV的,但所附的图片说明了这一点。

鸥翼门的概念并不新鲜。它于1950年代首次出现在标志性的梅赛德斯-奔驰300 SL中,此后成为未来主义和前卫设计的代名词。鸥翼门铰接在车顶线上并向上打开,让车辆的出入口显得十分引人注目。

然而,福特的专利通过设计一个向侧面打开的巨大鸥翼门,将这一概念提升到一个新的水平。这样的设计是独一无二的,尤其是从顶部看时,车辆看起来是不对称的。值得注意的是,福特的设计为驾驶员配备了单独的车门。由于结构设计的复杂性,还会有多个关键性的支撑点。

除了美观外,鸥翼门也具有一定的实用优势。它可以为乘客提供充足的空间,让他们更方便地进出车辆。较大的车门开口还可以为方便残疾人做进一步设计。它还可以更轻松地装卸货物,尤其是大型和笨重的物品,这对于普通车门来说可能很麻烦。

与所有专利和商标一样,这个专利并不能保证福特最终会生产出这种单鸥翼门设计的汽车。我们并不确定是否能在未来看到它,但我们还是很希望它能够最终被生产出来。
鹏城车网